一、撕裂度測試
撕裂度是指將預先切口的紙(或紙板),撕至一定的長度所需要力的平均值,單位是毫牛頓(mN)。紙和紙板抵抗撕裂時的力主要表現為兩個部分,一部分是纖維與纖維間的結合力,撕力要克服結合力而把纖維拉出;另一部分來自纖維本身強度。這二者的結合,使試樣體現出耐撕裂的能力。因此,撕裂度這一特性作為紙和紙板一項主要強度性能指標被廣泛使用。若起始切口是縱向的,則所測結果是縱向撕裂度;若起始切口是橫向的,則所測結果是橫向撕裂度。產品標準一般要求測試跟定量有關的橫向撕裂度指數。
撕裂度按照國標GB/T455-2002《紙和紙板撕裂度的測定》 的規定進行。該標準修改采用ISO 1974:1990。主要適用于低定量紙板和瓦楞原紙,不適用于瓦楞紙板和高度定向的紙張。
二、參考方法標準
GB/T 455、ISO 1974
三、檢測原理
具有規定預切口的一疊試樣(通常4層),用一垂直于試樣面的移動平面擺施加撕力,使紙撕開一個固定距離。用擺的勢能損失來測量在撕裂試樣的過程中所做的功。

圖1 撕裂度的撕裂原理
四、檢測設備
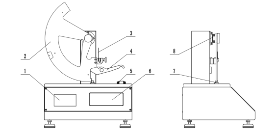
撕裂度儀由機架、擺錘、硬件電路、編碼器、顯示屏及WiFi聯網模塊部件組成。電腦紙張撕裂度儀(以PN-TT1000F智能機型為例)外形結構如圖2所示。
1-打印機 2-擺 3-試樣 4-切試樣把手 5-水平泡 6-顯示屏 7-停止器 8-編碼器
圖2 PN-TT1000F 電腦紙張撕裂度儀
擺錘安裝在旋轉編碼器上,使其圍繞自由擺動。試樣夾持在兩夾子之間,其中一個夾子固定在機架上,另一個在擺上,試樣被夾持住。試驗前將擺錘置于兩夾子成水平的初始位置上,用停止器固定。用樞軸上的刀預切試樣,切口長度為20mm。
撕裂度儀的結構特性應滿足表1參數。
表1 撕裂度儀結構特性參數
撕裂力臂/mm | 撕裂角度/° | 撕裂距離/mm | 初切長度/mm | 試樣尺寸/mm | 夾紙器夾紙面尺寸/mm | 夾紙器間距離/mm |
104±1 | 27.5±0.5 | 43±0.5 | 20 | 63×50 | 25×15 | 2.8±0.3 |
五、測試過程
(一)試樣采取和處理
試樣采取按GB/T 450進行,處理按GB/T 10739進行,并在此大氣條件下進行試樣制備和試驗。
(二)試樣制備
試樣的大小應為(63士0.5)mm×(50士2)mm,應按樣品的縱橫向分別切取試樣。如果紙張縱向與樣品的短邊平行,則進行橫向試驗,反之進行縱向試驗。每個方向應至少做5次有效試驗。
(三)測試
(1)儀器調水平
將儀器放在堅固無振動的臺子上,調節儀器的底腳使水平泡居中。
(2)選擇檔位
根據試樣選擇合適檔位,使結果在20%~80%范圍內。
(3)參數設置
設置撕裂方向、撕裂層數和試樣定量(用于計算撕裂指數)。
(4)夾緊試樣
將試樣一半正面對著刀,另一半反面對著刀。試樣的側面邊緣應整齊,底邊應完全與夾子底部相接觸,并對正夾緊。
(5) 測試
將擺升至初始位置并固定。用切刀將試樣切一整齊的刀口,切口長度20mm,使被撕開的距離是(43士0.5)mm。
圖3 紙張撕裂度測試設備
按【測試】鍵,釋放擺錘,試樣被撕裂,測試結束,屏幕顯示測試結果。
六、結果計算及分析
(一)結果計算
? 撕裂度
按式(1)計算撕裂度:
式中:
F總——撕裂度,mN;
S——總撕裂力值,mN;
n——試樣的層數。
? 撕裂指數
按式(2)計算撕裂指數:
式中:
F——撕裂度,mN;
X——撕裂知識,mN·m2/g;
g——試樣的定量。
(二)結果分析
當實驗中有1~2個試樣的撕裂線末端與切口延長線的左右偏斜超過10mm,應舍棄不計,重復試驗,直到得到5個滿意的結果為止。如果有兩個以上的試樣偏斜超過10mm,其結果可以保留,但應在報告中注明偏斜情況。如在撕裂過程中,試樣產生剝離現象,而不是正常方位上撕裂,應按上述撕裂偏斜情況處理。
偏斜的撕裂 正常的撕裂
測定層數應為4層,如果得不到滿意的結果,可適當增加或減少層數,但應在報告中加以說明。
測試撕裂度的影響因素:①相對濕度,對于一般強度性質的影響,都是濕度提高強度降低,而撕裂度卻是隨著相對濕度的增大而增大,在相對濕度65%時的撕裂度要比相對濕度50%時高出12%左右;②儀器精度的影響,例如擺軸的摩擦阻力,預切口的情況都有顯著影響,一般情況下,由儀器精度所引起的總誤差小于1%;③不同層數,有些紙緊度高,纖維內部結合力強,在撕裂的方向上和撕裂的層數上,都是沿著直線撕裂的,基本上不受撕裂層數的影響,有些紙緊度低,纖維結合力差,在1層~ 10層進行撕裂度測試時,發現層數少,撕裂度低,隨著層數的增加,撕裂度增加。
七、可能的錯誤操作及誤差來源
(一) 可能的錯誤操作
(1)開機直接測
本儀器屬于電子儀器,測量前要預熱30min以上。
(2)預切口不到位
由于試樣長度是固定的,如果預切口達不到20mm,那么被撕開的距離就會超過43mm,從而造成撕裂度偏高。
(3)試樣方向弄反了
一般情況橫向撕裂度要大于縱向撕裂度,如果試樣方向弄錯,將影響測試結果。
(4)儀器未調水平
儀器是否水平直接影響試驗數據的準確性。試驗之前,一定要調水平。
(二) 主要誤差來源
(1)測量系統校準不準確
本儀器高精密電子產品,使用一段時間后,因為電子元器件及傳感器的性能會發生變化,從而影響測試結果,所以要定期進行校準。
(2)儀器的放置狀態
如果儀器的水平沒有調節好或試驗臺面不穩定(如振動或強電磁干擾)都會影響測試結果。尤其是臺面傾斜的情況下,擺的重力勢能會受到影響。
(3)試樣的尺寸及切口
試樣的尺寸為(63士0.5)mm,在63mm 的方向上預先切一個20mm 長的切口,剩余的43mm 就決定著試樣撕裂距離的大小。撕裂距離越大,撕裂時所做的功越多,撕裂度就越高,反之, 切口小于20m,測定的撕裂度偏高。
(4)試樣的定量
試樣的定量不同,所測定的撕裂度也不同,為了消除定量對檢測的影響,有些產品直接用撕裂者指數來表示產品的機械強度。
本文2024年7月,發表于《紙箱世界》雜志
